 
            
            
             
  l3uch
 l3uchหนึ่งในอุปกรณ์ที่ผู้ใช้คอมพิวเตอร์หลาย ๆ คนต้องมีนอกจากคีย์บอร์ดแล้วก็คงหนีไม่พ้น เมาส์ (Mouse) ที่รูปทรงเหมือนกับสัตว์อย่าง "หนู" นั่นเอง
โดยเมาส์ เป็นอุปกรณ์ต่อพ่วง (Peripheral Device) ที่จะเข้ามาช่วยเสริมให้การเข้าใช้งานโปรแกรม และการเลื่อนสัญลักษณ์ชี้ตำแหน่งบนหน้าจอ หรือ เคอร์เซอร์ (Cursor) ไปยังจุดต่าง ๆ เป็นไปได้อย่างง่ายดาย โดยเฉพาะกับคนที่ใช้เครื่องคอมพิวเตอร์ แบบตั้งโต๊ะและไม่ได้ใช้ระบบหน้าจอแบบสัมผัส (Touchscreen)
เพราะเจ้าหนูตัวเล็กขนาดพอดีมือนี้ช่วยให้การใช้งานคอมพิวเตอร์สะดวกขึ้นจนไม่น่าเชื่อว่าในยุคแรก ๆ ที่มีการคิดค้นเมาส์ขึ้นมานั้นจะมีแต่เสียงหัวเราะเยาะจากผู้คนจำนวนมากว่าเป็นอุปกรณ์ไร้ประโยชน์ เพราะตอนนี้เรากลับจินตนาการไม่ออกแทนว่าจะใช้คอมพิวเตอร์แบบไม่มีเมาส์ได้ยังไงกันนะ..
 
 
  ภาพจาก : https://www.reddit.com/r/memes/comments/dp6etf/they_used_to_squeak_a_lot_apparently/
โดยก่อนหน้าที่จะเริ่มมีการใช้งานเมาส์อย่างแพร่หลายนั้นก็เน้นการใช้คีย์บอร์ดเป็นหลัก (แน่นอนว่าไม่ได้หยิบหนูตัวเป็น ๆ มาเล่นกันเหมือนในมีมด้านบนแต่อย่างใด) จะใช้งานคำสั่งอะไรก็พิมพ์ลงคีย์บอร์ดได้เลย อีกทั้งคอมพิวเตอร์ในยุคแรก ๆ ก็ไม่ได้มีลูกเล่นอะไรมากมาย เป็นเพียงเครื่องมือที่ใช้ป้อนคำสั่งและข้อมูลต่าง ๆ ที่ช่วยในการคิดคำนวณเท่านั้น หลาย ๆ คนจึงมองว่าอุปกรณ์เสริมอย่างเมาส์นั้นเป็นสิ่งที่ไม่จำเป็นในการใช้งาน
เมาส์ตัวแรกของโลก นั้นเป็นเพียงแค่ส่วนหนึ่งในโปรเจคของสถาบันวิจัย SRI (Stanford Research Institute) ที่ต้องการพัฒนาคิดค้นอุปกรณ์เสริมใหม่ ๆ ที่ช่วยอำนวยความสะดวกให้มนุษย์เพิ่มมากขึ้นในปี ค.ศ. 1962 (พ.ศ. 2505) โดย Douglas Carl Engelbart หัวหน้าศูนย์วิจัย ARC (Augmentation Research Center) ที่สถาบันวิจัย SRI และเพื่อนร่วมงานของเขาอย่าง William (Bill) English ก็ได้คิดค้นสิ่งประดิษฐ์ขึ้นมามากมายในช่วงนั้น จนกระทั่งในปี ค.ศ. 1964 (พ.ศ. 2507) Engelbart ก็ได้คิดค้นเมาส์ตัวแรกของโลกขึ้นมาได้สำเร็จ
โดยเมาส์ตัวแรกที่เขาได้คิดค้นออกมานั้นมีหน้าตาคล้ายกล่องไม้ขนาดพอดีมือ ภายในมีวงล้อเหล็ก (Wheel Mechanical) ที่ทำงานร่วมกันเพื่อควบคุมการเคลื่อนไหวของตัวเมาส์ (เคลื่อนที่ขึ้น - ลง และซ้าย - ขวา) และมีปุ่มกดเพียงแค่ปุ่มเดียวเท่านั้น แต่นอกจากเมาส์ตัวนี้แล้วก็ได้มีการประดิษฐ์เครื่องมือตัวช่วยอื่น ๆ อย่าง Light Pen, Joystick และอุปกรณ์ต่าง ๆ อีกมากมาย
ดังนั้น Engelbart และ English จึงตัดสินใจไปเยือน NASA เพื่อทำการทดสอบประสิทธิภาพของเครื่องมือที่พวกเขาคิดค้นขึ้นมาในปี ค.ศ. 1966 (พ.ศ. 2509) ซึ่งผลในครั้งนั้นก็ชี้ชัดว่าทุกคนค่อนข้างที่จะพึงพอใจกับเมาส์ที่พวกเขาคิดค้นขึ้นมาอยู่ไม่น้อย เพราะเมื่อเทียบกับอุปกรณ์อื่น ๆ แล้วมันสามารถเคลื่อน Cursor บนหน้าจอได้รวดเร็วและตรงจุดมากกว่า
ภาพจาพ : shorturl.at/grzBQ และ shorturl.at/acnwM
ถัดมาในปี ค.ศ. 1967 (พ.ศ. 2510) Engelbart จึงตัดสินใจดำเนินการจดสิทธิบัตรกับสิ่งประดิษฐ์ดังกล่าวนี้โดยใช้ชื่อว่า “อุปกรณ์ระบุตำแหน่งบนหน้าจอแสดงผลที่เคลื่อนไหวด้วยแกน X - Y” (X-Y Position Indicator for a Display System) และมันก็ได้ชื่อเรียกแบบเล่น ๆ ว่า “เมาส์ (Mouse)” มาในเวลาไม่นานเพราะด้วยรูปร่างขนาดพอดีมือและสายด้านหลังที่ดูคล้ายกับหางก็ทำให้ดูมันมีหน้าตาคล้ายหนู (Mouse) นั่นเอง (ในช่วงนั้นเขาได้ทดสอบการใช้งานอุปกรณ์ที่ใช้เข่าในการควบคุมการเคลื่อนไหวของ Cursor ด้วยเช่นกัน แต่ถัดมาก็กลับไปพัฒนาเมาส์ดังเดิม)

  ภาพจาก : https://history-computer.com/inventions/computer-mouse-complete-history-of-the-computer-mouse/
English ได้เข้ามามีส่วนช่วยในการพัฒนารูปลักษณ์ภายนอกของเมาส์และ Keypad ใหม่ และ Engelbart ก็ได้ชวน Jeff Rulifson ก็ได้เข้ามามีส่วนร่วมในโปรเจคดังกล่าวนี้ด้วย ทั้งสามคนร่วมกันพัฒนาเมาส์จนในที่สุดก็ได้ Workstation แบบสมบูรณ์ที่ประกอบไปด้วยคอมพิวเตอร์, คีย์บอร์ด, Keypad และเมาส์ โดยได้เปลี่ยนวัสดุตัวเมาส์จากไม้เป็นพลาสติกเป็นที่เรียบร้อย

  ภาพจาก : https://history-computer.com/inventions/computer-mouse-complete-history-of-the-computer-mouse/
ในที่สุดเมาส์ของ Engelbart ก็ได้เปิดตัวสู่สาธารณชนครั้งแรกเมื่อวันที่ 9 ธันวาคม ค.ศ. 1968 (พ.ศ. 2511) ภายในงาน Mother of All Demos (งานเปิดตัวนวัตกรรมใหม่ ๆ ที่ทาง SRI จัดขึ้น) พร้อมด้วยเทคโนโลยีอื่น ๆ เช่น Video Conference, Teleconference, Email, Hypertext, Bootstrapping และนวัตกรรมต่าง ๆ อีกมากมาย
แต่น่าเสียดายที่ในช่วงแรกมันไม่ได้รับความนิยมมากเท่าไรนัก อีกทั้งยังไม่ได้รับความใส่ใจมากพออีกด้วย เพราะหลังจากที่ Engelbart ได้จดสิทธิบัตรเมาส์ในนามของ SRI ทาง SRI ก็จัดการขายสิทธิบัตรนี้ต่อให้กับบริษัท Apple ที่ราคาเพียงแค่ 40,000 ดอลลาร์สหรัฐ (หรือราว 1,330,000 บาท) เท่านั้น และผู้คิดค้นอย่าง Engelbart ก็ไม่ได้รับส่วนแบ่งจากการซื้อขายสิทธิบัตรนั้นแม้แต่สตางค์ (เซนต์) เดียว
ก่อนหน้างาน Mother of All Demos จะจัดขึ้นที่สหรัฐอเมริกา ในวันที่ 2 ตุลาคมปีเดียวกันนั้นเอง ทางบริษัท Telefunken ของประเทศเยอรมนีเองก็ได้มีการเปิดตัวอุปกรณ์เสริมที่ใช้งานร่วมกับจอ SIG-100 โดยมันมีชื่อว่า Rollkugel หรือที่แปลว่า ลูกกลิ้ง (Rolling Ball) ในภาษาเยอรมัน โดยสาเหตุที่ใช้ชื่อนั้นก็เป็นเพราะอุปกรณ์ภายในของ Rollkugel นี้ใช้การเคลื่อนไหวด้วยบอล (Ball-type Mechanical) นั่นเอง
ภาพจาก : https://www.e-basteln.de/computing/rollkugel/rollkugel/
ซึ่งจากบันทึกที่ทาง Telefunken ระบุไว้ก็ดูเหมือนว่า Rollkugel จะเริ่มมีการคิดค้นขึ้นในราวช่วงปี ค.ศ. 1965 (พ.ศ. 2508) โดยพัฒนาต่อมาจากอุปกรณ์ชื่อเดียวกันให้มีลักษณะกะทัดรัดและสามารถใช้งานได้สะดวกมากขึ้น แต่มันก็ไม่ได้ทำการจดสิทธิบัตรอย่างเป็นทางการ จึงทำให้เมาส์ของ Engelbart ยังคงเป็นเมาส์ตัวแรกในประวัติศาสตร์อยู่ดีแม้ Rollkugel จะชิงเปิดตัวไปก่อนถึง 2 เดือนด้วยกัน
ถัดมาในปี ค.ศ. 1972 (พ.ศ. 2515) English ที่ตัดสินใจลาออกจาก SRI มาทำงานที่ Xerox PARC (Palo Alto Research Centre) ศูนย์วิจัยและพัฒนานวัตกรรมใหม่ ๆ เพื่อการใช้งานคอมพิวเตอร์ในอนาคตของบริษัท Xerox ก็ได้คิดค้นเมาส์ลูกกลิ้ง (Ball-type Mechanical Mouse) ที่ใช้ลูกบอลเป็นตัวกำหนดทิศทางของวงล้อ (แกน X - Y) ภายใน ซึ่งด้วยลูกบอลที่อยู่ภายในตัวเมาส์ก็ทำให้มันสามารถเคลื่อนไหวได้อย่างอิสระ (คล้ายกับ Rollkugel แต่ลักษณะภายนอกและกลไกการทำงานภายในมีความแตกต่างกัน)
และทางบริษัท Xerox ก็ได้วางจำหน่ายคอมพิวเตอร์รุ่น Xerox Alto ที่เป็นคอมพิวเตอร์รุ่นแรกที่รองรับการใช้งาน GUI (Graphical User Interface) พร้อมกับเมาส์ลูกกลิ้งรุ่นแรกของบริษัทในปี ค.ศ. 1973 (พ.ศ. 2516) โดยตัวเมาส์ยังคงมีลักษณะภายนอกเป็นสี่เหลี่ยมคล้ายเมาส์ดั้งเดิมของ Engelbart แต่ได้เพิ่มปุ่มควบคุมการทำงานขึ้นมาทั้งหมดถึง 3 ปุ่มด้วยกัน ซึ่งหลังจากการเปิดตัวของ Xerox Alto ก็ทำให้เมาส์เริ่มเป็นที่นิยมมากขึ้นอย่างเห็นได้ชัด
ภาพจาก : https://www.computerhistory.org/revolution/input-output/14/347และ shorturl.at/gvBKL
อย่างไรก็ตาม เมาส์ลูกกลิ้งที่วางจำหน่ายในช่วงเวลานั้นก็มีปัญหาที่ทำให้ผู้ใช้ปวดหัวกันไปตาม ๆ กัน คือ เมื่อใช้ไประยะหนึ่งแล้วมันก็กลายเป็นแหล่งรวมฝุ่นที่ทำให้การเคลื่อนไหวเมาส์ไม่ลื่นมือเหมือนอย่างที่เคย

  ภาพจาก : https://1000awesomethings.com/2011/07/05/208-cleaning-all-that-gunk-out-of-your-mouse-ball/
ในปี ค.ศ. 1981 (พ.ศ. 2524) Steven Kirsch ได้พัฒนา เมาส์แบบ Optical ขึ้นมาเพื่อแก้ไขปัญหาฝุ่นเกาะของเมาส์ลูกกลิ้ง โดยเมาส์ในรูปแบบนี้จะใช้การเคลื่อนไหวของแสงแทนการกลิ้งไปมาของลูกบอล ทำให้เมาส์แบบ Optical สามารถเคลื่อนไหวได้อย่างลื่นไหลและไม่ต้องกังวลกับปัญหาฝุ่นจับอีกต่อไป แต่เมาส์แบบ Optical ในยุคแรก ๆ นั้นต้องใช้งานควบคู่กับแผ่นรองเมาส์แก้วแบบพิเศษที่มีราคาสูง (และปีเดียวกันนั้นเอง Richard F. Lyon จากบริษัท Xerox ก็ได้เปิดตัว Optical Mouse รุ่นแรกออกมาเช่นเดียวกัน โดยใช้งานกับแผ่นรองเมาส์กระดาษ)
 

ภาพจาก : shorturl.at/gwRXZ และ https://www.dicklyon.com/tech/OMouse/OpticalMouse-Lyon.pdf
และถึงแม้ว่าจะมีเทคโนโลยีใหม่อย่าง Optical Mouse ขึ้นมาแล้วแต่ทางบริษัทต่าง ๆ ก็ยังไม่ได้ทิ้งการพัฒนาเมาส์ลูกกลิ้งไปแต่อย่างใด เพราะเรายังคงเห็นเมาส์ลูกกลิ้งรุ่นใหม่ออกมาอยู่เรื่อย ๆ ควบคู่ไปกับการพัฒนาเมาส์แบบ Optical ด้วย
แน่นอนว่าพอ Xerox ได้กรุยทางให้กับอุปกรณ์เสริมที่เพิ่มความสะดวกสบายในการใช้งานคอมพิวเตอร์ให้กับผู้ใช้แล้ว ทางบริษัทอื่น ๆ เองก็เริ่มตามรอยและพัฒนาเมาส์เป็นของตัวเองด้วยเช่นกัน และที่น่าสนใจคือบริษัทซอฟต์แวร์จากสวิสเซอร์แลนด์อย่าง Logitech เองก็ได้มาลงเล่นในตลาดนี้ด้วยเช่นกัน (ก็ถือว่าตัดสินใจได้ถูกต้อง เพราะตอนนี้กลายเป็นบริษัทผลิตเมาส์ชื่อดังไปเป็นที่เรียบร้อย)
โดย Logitech P4 เมาส์รุ่นแรกของ Logitech (และเป็นฮาร์ดแวร์ตัวแรกของบริษัทด้วยเช่นกัน) ได้วางสู่ตลาดในปี ค.ศ. 1982 (พ.ศ. 2525) ซึ่งจากรูปร่างของมันแล้วก็ดูคล้ายคลึงกันกับ Rollkugel ของ Telefunken อยู่ไม่น้อย เพราะเป็นเมาส์รูปแบบทรงกลม ในขณะที่ปุ่มกดมีทั้งหมด 3 ปุ่มคล้ายกับเมาส์ของฝั่งสหรัฐอเมริกา ส่วนระบบภายในนั้นใช้รูปแบบ Opto-mechanical ที่ช่วยให้การควบคุมลูกกลิ้งภายในเมาส์นั้นเสถียรมากยิ่งขึ้น
ภาพจาก : https://www.swisstextilemachinery.ch/stories/invention-pc-mouse และ https://computerhoy.com/reportajes/industria/logitech-historia-686721
และในปีถัดมา บริษัทใหญ่อย่าง Apple และ Microsoft ก็ได้ให้ความสนใจกับเมาส์เช่นเดียวกัน โดยทาง Microsoft นั้นได้เปิดตัว Microsoft Mouse พร้อมพัฒนา Microsoft Word ที่รองรับการทำงานร่วมกับอุปกรณ์เสริมอย่างเมาส์เข้ามาดึงความสนใจของผู้ใช้ร่วมด้วย
ในขณะที่ทาง Apple เองก็เปิดตัว Apple Lisa คอมพิวเตอร์รุ่นไฮเอนด์ของบริษัทที่วางจำหน่ายพร้อมกับ Lisa Mouse เมาส์รุ่นแรกของบริษัทที่มาพร้อมดีไซน์ปุ่มกดเพียงแค่ปุ่มเดียว และเป็นเมาส์ตัวแรกที่ใช้ระบบ Trackball โดยไม่มีกลไกภายในที่ซับซ้อนเหมือนกับเมาส์รุ่นก่อน ๆ
ภาพจาก : https://www.gearrate.com/en/mouse/history/, shorturl.at/bcyM4 และ shorturl.at/cqJKR
การเติบโตของเมาส์และบริษัท Logitech นี้ก็ยังมีให้เห็นอยู่เรื่อย ๆ เพราะถัดมาในช่วงปี ค.ศ. 1984 (พ.ศ. 2527) นอกจากทาง Logitech จะรับผลิตเมาส์ให้กับบริษัทใหญ่อย่าง HP แล้ว ยังผลิต เมาส์แบบไร้สาย ที่ใช้ระบบ Infrared ในการเชื่อมต่อกับคอมพิวเตอร์แบบไร้สาย โดยมันถูกพัฒนาขึ้นมาเพื่อใช้งานกับระบบ Metaphor Computer (ระบบคอมพิวเตอร์ของ Xerox)
ซึ่งระบบนี้ไม่เพียงแต่จะมีเมาส์แบบไร้สายเท่านั้น มันยังมาพร้อมกับคีย์บอร์ด (และ Keypad) ไร้สายอีกด้วย แต่ในช่วงแรกเมาส์ไร้สายก็ไม่ได้รับความสนใจมากนักเนื่องจากระบบ Infrared นั้นค่อนข้างยุ่งยากในการใช้งานจริง (บางเจ้าก็ระบุว่าผู้ที่คิดค้นเมาส์ไร้สายคือ David Liddle และ Donald Massaro อดีตวิศวกรของ Xerox PARC แต่ไม่มีข้อมูลระบุว่าทั้งคู่ลาออกมาทำงานที่ Logitech หรือจ้างให้ Logitech เป็นผู้ผลิตเมาส์ประเภทนี้กันแน่)

  ภาพจาก : https://www.gearrate.com/en/mouse/history/
ถัดมาในปี ค.ศ. 1991 (พ.ศ. 2534) ทาง Logitech ก็ได้แก้ปัญหาการใช้งานติดขัดของเมาส์ไร้สายด้วยการปรับจากระบบ Infrared มาเป็นระบบ RF (Radio Frequency) ที่ใช้คลื่นวิทยุในการเชื่อมต่อเมาส์และคอมพิวเตอร์แทน อีกทั้งยังมีการปรับดีไซน์ของเมาส์ใหม่ให้มีจุดวางนิ้วโป้งด้วย
แถมยังมีการพัฒนาเมาส์ขึ้นมารองรับการใช้งานของคนถนัดซ้ายอีกต่างหาก ซึ่งในจุดนี้ก็ทำให้มันได้รับความสนใจจากผู้ใช้อย่างล้นหลามเลยทีเดียว เพราะนอกจากดีไซน์จะดูน่าสนใจ (สำหรับรุ่นมือขวา) แล้ว การทำงานของมันก็เสถียรกว่าเมาส์ไร้สายรุ่นเก่า ๆ มากเลยทีเดียว
ภาพจาก : https://www.gearrate.com/en/mouse/history/
ไม่ใช่แค่ Logitech เท่านั้นที่ให้ความสำคัญกับการพัฒนาเมาส์ เพราะบริษัทอื่น ๆ เองก็ได้พัฒนาและผลิตเมาส์ขึ้นมาอยู่เรื่อย ๆ เช่นกัน ไม่ว่าจะเป็น Honeywell, IBM, Apple, Microsoft และบริษัทอื่น ๆ อีกมากมาย โดยการเปลี่ยนแปลงอีกครั้งหนึ่งของตลาดเมาส์ที่เปลี่ยนโลกของการใช้งานเมาส์จนทำให้มันกลายมาเป็นรูปแบบของเมาส์ที่เราคุ้นชินกันอยู่ในทุกวันนี้ก็ได้แก่การเพิ่มลูกกลิ้งบนเมาส์ (Scroll Wheel) ขึ้นมาบนตัวเมาส์นั่นเอง
โดยจากที่ค้นดูก็พบว่ามันการนำเอา Scroll Wheel มาใช้งานร่วมกับเมาส์ครั้งแรกในช่วงปี ค.ศ. 1985 (พ.ศ. 2528) แต่ไม่ได้ผลิตลงตลาดและยังไม่ได้มีการจดสิทธิบัตร ต่อมาในปี ค.ศ. 1987 (พ.ศ. 2530) Jack McCauley ก็ออกมาระบุว่าเขาเองก็ได้พัฒนาเมาส์ที่ใช้งาน Scroll Wheel ด้วยเช่นกัน แต่ไม่มีหลักฐานแน่ชัดในส่วนนี้ออกมา มีเพียงแค่ภาพ Prototype ของเมาส์เท่านั้น
 
 
  ภาพจาก : https://en.wikipedia.org/wiki/Scroll_wheel
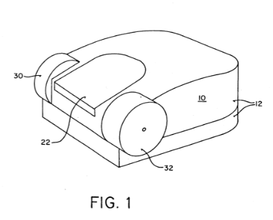
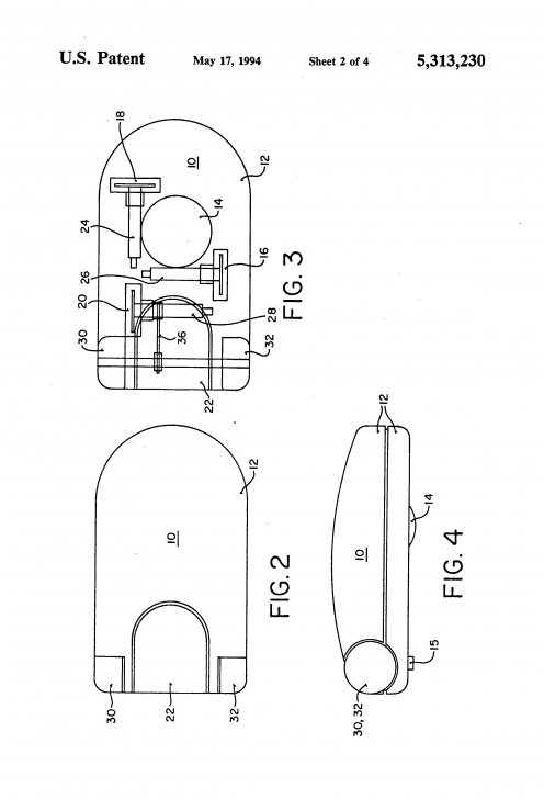
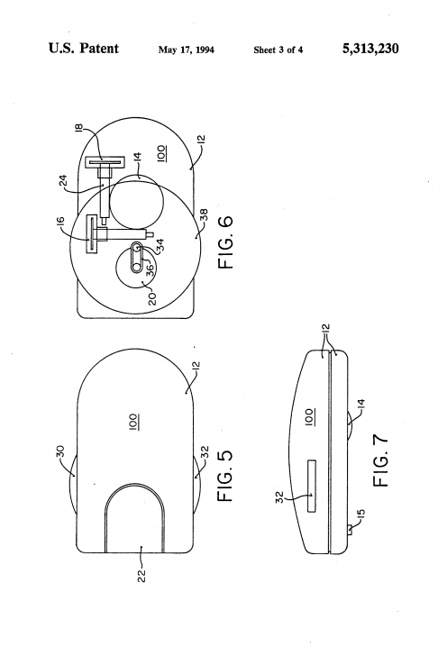
จนกระทั่งในปี ค.ศ. 1989 (พ.ศ. 2532) Gina Danielle Venolia จากบริษัท Apple ก็ได้เปิดตัว Prototype ของเมาส์ที่มาพร้อมกับ Scroll Wheel ภายในงาน ACM SIGCHI และได้จดสิทธิบัตรให้กับมัน (ทั้ง Scroll Wheel แนวตั้งและแนวนอน) ในปี ค.ศ. 1992 (พ.ศ. 2535)
ภาพจาก : https://worldwide.espacenet.com/patent/search/family/025441225/publication/US5313230A?q=pn%3DUS5313230A
แต่บริษัทแรกที่ผลิตเมาส์ที่มาพร้อมกับ Scroll Wheel วางจำหน่ายลงสู่ตลาดนั้นได้แก่บริษัท KYE ประเทศไต้หวัน ที่ซื้อกิจการของบริษัท Mouse System ไปเมื่อ 5 ปีก่อน และได้วางจำหน่ายเมาส์ชนิดนี้ในชื่อ Genius EasyScroll ในนามบริษัท KYE และ ProAgio ในนามของบริษัท Mouse Systems ในปี ค.ศ. 1995 (พ.ศ. 2538) แต่ไม่ได้รับความนิยมนัก

  ภาพจาก : https://weburbanist.com/2009/04/05/evolution-of-the-mouse-classic-to-cutting-edge/
ในปีถัดมาทางบริษัท Microsoft ได้เปิดตัวเมาส์ที่มีชื่อว่า Microsoft IntelliMouse ขึ้นมาพร้อม Scroll Wheel ระหว่างกลางปุ่มคลิกซ้ายและขวา (ดูจากดีไซน์ที่ต่างกันของ KYE และ Microsoft ก็ไม่น่าแปลกใจเลยว่าทำไมมันถึงได้รับความนิยมขึ้นมาอย่างล้นหลาม) และจากการเปิดตัวของเมาส์พร้อม Scroll Wheel นี้ก็ได้ยกระดับความนิยมในการใช้งานเมาส์และความสามารถในการทำงานพื้นฐานของเมาส์ไปอีกขั้นหนึ่งเลยทีเดียว
 

ภาพจาก : https://swiftheadline.com/why-do-mice-have-scroll-wheels-microsoft-intellimouse-turns-25/
สำหรับ ระบบ Trackball ที่แม้ว่าจะมีการคิดค้นขึ้นมาใช้งานกันอย่างยาวนานโดยใช้ในแวดวงการทหารมาตั้งแต่ช่วงสงครามโลกครั้งที่ 2 โดย Ralph Benjamin ได้ผลิต แทร็กบอล (Trackball) ขึ้นมาเพื่อใช้งานร่วมกับคอมพิวเตอร์ในระบบ Analog ที่จะคำนวณกะทิศทางและระยะการยิงของเครื่องบินรบก็ได้จดสิทธิบัตรในปี ค.ศ. 1947 (พ.ศ. 2490) แต่มันก็ถูกเก็บไว้เป็นความลับทางการทหารในขณะนั้น
ถัดมาช่วงปี ค.ศ. 1952 (พ.ศ. 2495) หน่วยงาน DATAR (Digital Automated Tracking and Resolving) ที่ทำงานให้กับนาวิกโยธินของประเทศแคนาดาก็ได้พัฒนา Trackball ที่มีหลักการทำงานคล้ายกับของ Benjamin ขึ้นมาเพื่อใช้คำนวณทิศทางและระยะความห่างของเรือจากการคำนวณร่วมกับคอมพิวเตอร์ แต่มันไม่ได้รับการจดสิทธิบัตรเนื่องจากเป็นอุปกรณ์ที่เป็นความลับทางการทหาร
 
 
  ภาพจาก : https://pbs.twimg.com/media/DnyJJVjXkAYwcqF.jpg
ผ่านไปกว่าครึ่งทศวรรษ ในปี ค.ศ. 1995 (พ.ศ. 2538) ทางบริษัท Logitech ก็ได้นำเอาระบบการทำงานของ Trackball เข้ามาใช้งานบนเมาส์คอมพิวเตอร์ ซึ่ง Trackman Marble นั้นเป็นเมาส์ที่มี Trackball อยู่ด้านบนตัวเมาส์และใช้การหมุนลูกกลิ้งบนเมาส์เพื่อเลื่อน Cursor แทนการเคลื่อนตัวเมาส์ไปมา (แม้หลักการทำงานจะคล้ายกับเมาส์ลูกกลิ้งที่ใช้การเคลื่อนลูกกลิ้งเพื่อควบคุมทิศทางของ Cursor แต่ก็มีความแตกต่างกันอยู่ไม่น้อย) ซึ่งทาง Logitech ก็ได้จดสิทธิบัตรให้กับเซนเซอร์ชนิดนี้ในชื่อ Marble Sensor และต่อมาเมาส์ในรูปแบบนี้ก็ยังมีการพัฒนามาเรื่อย ๆ จนถึงปัจจุบันด้วยเช่นกัน
 
 
  ภาพจาก : https://www.ebay.com/p/1101063068
ตลาดของ Gaming Mouse เริ่มต้นขึ้นเมื่อ Razer ตัดสินใจเปิดตัว Gaming Mouse รุ่นแรกของบริษัทในชื่อ Razer BoomSlang ในปี ค.ศ. 1997 (พ.ศ. 2540) ซึ่งด้วยดีไซน์แปลกใหม่ของมันก็ดึงความสนใจของผู้ใช้ได้ไม่น้อยและทำให้มันกลายเป็นแบรนด์ระดับต้นของ Gaming Mouse มาจนถึงปัจจุบันนี้
 
 
  ภาพจาก : https://www.gearrate.com/en/mouse/history/
ตลาด Gaming Mouse ในปัจจุบันนั้นก็พัฒนาไปค่อนข้างไกลเลยทีเดียว ทั้งในเรื่องของดีไซน์ละประสิทธิภาพในการใช้งาน เพราะเมื่อนับจาก Gaming Mouse ในยุคแรก ๆ ที่มีเพียงไม่กี่ร้อย DPI (Dots Per linear Inch) และมี Polling Rate ไม่สูงมากนักแล้ว Gaming Mouse ในปัจจุบันก็มีดีไซน์ที่แหวกแนวจากเดิมตามรวมทั้งยังมีประสิทธิภาพ (และราคา) เพิ่มสูงขึ้นตามความต้องการของผู้ใช้ไปด้วยนั่นเอง
จุดเปลี่ยนที่สำคัญอีกอย่างของอุตสาหกรรมเมาส์ที่ไม่พูดถึงไปไม่ได้เลยนั่นก็คือการเปลี่ยนพอร์ตเชื่อมต่อจาก Serial Port มายังพอร์ต PS/2 ในปี ค.ศ. 1987 (พ.ศ. 2530) โดยบริษัท IBM และทำให้มันเป็นพอร์ตเชื่อมต่อเมาส์ที่ได้รับความนิยมขึ้นมากในยุคหนึ่ง จนกระทั่งในปี ค.ศ. 1998 (พ.ศ. 2541) ทางบริษัท Apple ก็ได้เปิดตัว Hockey Puck หรือ USB Mouse รุ่นแรกของ Apple ที่นอกจากจะมีดีไซน์ที่แตกต่างไปจากเมาส์ปกติทั่วไปในยุคนั้นแล้ว ยังเปลี่ยนมาใช้งานพอร์ต USB ในการเชื่อมต่อการทำงานของเมาส์แทนอีกด้วย (ช่วงนี้ Apple ดูเอ็นจอยกับการดีไซน์ไม่น้อยเลย เพราะ Hockey Pack นี้ก็ถูกออกแบบมาให้ใช้งานร่วมกับ iMac หลากสีในยุคนั้นนั่นเอง)

  ภาพจาก : https://weburbanist.com/2009/04/05/evolution-of-the-mouse-classic-to-cutting-edge/
ในช่วงปลายยุค 90’s เมาส์ลูกกลิ้งก็เริ่มเสื่อมความนิยมลงทีละน้อยและ เปิดโอกาสให้กับเมาส์แบบ Optical เข้ามาทำตลาดมากขึ้น โดยในช่วงปี ค.ศ. 1999 (พ.ศ. 2542) ทางบริษัท Agilent ก็ได้แก้ปัญหาน่าปวดหัวของเมาส์ Optical ที่ต้องใช้งานแผ่นรองเมาส์แบบพิเศษได้เป็นที่เรียบร้อย ซึ่งด้วย Optical Sensor ตัวใหม่ของ Agilent นี้ก็ทำให้มันสามารถใช้งานร่วมกับแผ่นรองเมาส์แบบทั่ว ๆ ไปได้แล้ว
แน่นอนว่าหลังจากที่สามารถแก้ไขปัญหาจุกจิกของแผ่นรองเมาส์ออกไปได้ก็ทำให้เมาส์แบบ Optical นั้นได้รับความนิยมขึ้นมาอย่างรวดเร็ว ทั้ง Microsoft, Apple, Logitech และบริษัทต่าง ๆ ก็ทำการพัฒนาเมาส์ที่ใช้งาน Optical Sensor แบบใหม่นี้ และได้รับความสนใจจากผู้ใช้ค่อนข้างมาก (โดยเฉพาะเมาส์ของ Apple ที่มีดีไซน์เฉพาะตัว)
 


ภาพจาก : shorturl.at/aemJZ, shorturl.at/nACHR และ shorturl.at/eimST
ในปี ค.ศ. 2002 (พ.ศ. 2545) ทางบริษัท Microsoft ก็ได้เปิดตัว เมาส์ที่ใช้งานระบบ Bluetooth ในการเชื่อมต่อเข้ากับคอมพิวเตอร์ขึ้นมา โดยนอกจากเมาส์แล้วก็ได้เปิดตัวคีย์บอร์ดพร้อม USB Reciever มาพร้อมกันด้วย แต่เมาส์ Bluetooth ก็ไม่ได้รับความนิยมมากเท่ากับเมาส์ไร้สายแบบทั่วไป
จนกระทั่ง Apple ได้เปิดตัว Apple Wireless Mouse ในปี ค.ศ. 2003 (พ.ศ. 2546) ก็เริ่มทำให้ความนิยมเมาส์ประเภทนี้เพิ่มมากขึ้น โดยเฉพาะยุคหลัง ๆ มานี้ที่ iPad รองรับการทำงานร่วมกับเมาส์ก็ยิ่งทำให้ Bluetooth Mouse เป็นที่นิยมมากขึ้นไม่น้อยเลยทีเดียว (แม้ความนิยมยังไม่เทียบเท่าเมาส์ไร้สายที่ใช้งานคลื่นวิทยุเป็นตัวรับสัญญาณ แต่ก็สามารถตีตลาดขึ้นมาได้บ้างแล้ว)
 
 
  ภาพจาก : https://en.wikipedia.org/wiki/Apple_Wireless_Mouse
เมาส์เลเซอร์ นั้นเป็นการพัฒนามาจากเมาส์แบบ Optical อีกทีหนึ่ง เพราะมันใช้งานเทคโนโลยีเซนเซอร์จับการเคลื่อนไหวของแสงเช่นเดียวกัน แต่เมาส์แบบ Laser นี้จะมีความไวและความละเอียดที่มากกว่าเมาส์แบบ Optical อยู่มากเลยทีเดียว ซึ่งบริษัทแรกที่ได้ทำการพัฒนาเมาส์แบบ Laser ขึ้นมานี้ก็ได้แก่ Logitech เจ้าเก่าเจ้าเดิม
โดยในปี ค.ศ. 2004 (พ.ศ. 2547) ได้เปิดตัว MX1000 เมาส์ไร้สายที่ใช้ระบบ Laser ตัวแรกของบริษัทขึ้นมา ไม่เพียงเท่านั้น ทาง Logitech ยังวางจำหน่าย MX1000 ในฐานะ Gaming Mouse เพื่อตีตลาดจาก Razer อีกด้วย (แต่ Razer ก็ยังดูโปรในสายตาเกมเมอร์หลาย ๆ คนมากกว่า Logitech ที่จับตลาดผู้ใช้ทั่วไปด้วยอยู่ดี)

  ภาพจาก : https://www.gearrate.com/en/mouse/history/
ซึ่งด้วยเทคโนโลยีของ Laser Mouse นี้ก็สร้างเสียงฮือฮาให้กับตลาดเมาส์ได้พอสมควร เพราะถึงแม้ว่า Laser Mouse จะมีราคาสูงกว่าเมาส์แบบลูกกลิ้งและเมาส์แบบ Optical แต่ด้วยประสิทธิภาพการทำงานที่เหนือกว่าในหลาย ๆ ด้านก็ทำให้บริษัทต่าง ๆ หันความสนใจมาพัฒนาเมาส์แบบ Laser และทำให้มันกลายเป็นหนึ่งในประเภทของเมาส์ที่ได้รับความนิยมในการใช้งานมากที่สุดในเวลาถัดมา
แม้ว่าโน้ตบุ๊กส่วนมากจะมาพร้อมกับ Touchpad ที่สามารถใช้งานแทนเมาส์ได้แล้ว แต่ผู้ใช้หลาย ๆ คนก็รู้สึกชินมือและสะดวกกับการใช้งานเมาส์มากกว่าอยู่ดี โดยเฉพาะ เมาส์แบบไร้สายที่ใช้งานคลื่นวิทยุแบบ 2.4 GHz ที่เมื่อเสียบ USB เชื่อมต่อกับโน้ตบุ๊กก็สามารถใช้งานเมาส์ได้ทันทีในระยะไกลถึง 10 เมตรนั้นก็เป็นที่นิยมเป็นอย่างมาก ซึ่งบริษัทที่ริเริ่มพัฒนาเมาส์รูปแบบนี้ขึ้นมาก็ได้แก่ Logitech นั่นเอง
โดยในปี ค.ศ. 2004 (พ.ศ. 2547) ทางบริษัทได้เปิดตัว V-500 Cordless Notebook Mouse ขึ้นมาพร้อมเทคโนโลยีดังกล่าว แต่ V-500 นี้ไม่ได้มี Scroll Wheel เหมือนเมาส์ทั่ว ๆ ไปที่เราคุ้นเคยกันดี เพราะมันใช้งานแผ่น Scroll แทน แต่ในรุ่นถัด ๆ มาก็กลับมาใช้งาน Scroll Wheel ดังเดิม และได้มีการปรับตัวรับ USB ให้เป็นแบบ Nano Receiver ที่มีขนาดเล็กกว่าเดิมแทน และเมาส์รูปแบบนี้ก็ได้รับความนิยมมาจนถึงปัจจุบันนี้ด้วย

  ภาพจาก : https://www.gearrate.com/en/mouse/history/
และ Notebook Mouse อีกรุ่นที่น่าสนใจไม่แพ้กันก็ได้แก่ Mogo Mouse จาก Logitech ที่เป็นเมาส์ไร้สายแบบพกพาที่ใช้งานระบบ Bluetooth โดยมันสามารถชาร์จแบตเตอรี่ด้วยพอร์ต PC Card Slot (ปัจจุบันนี้ไม่เห็นพอร์ทนี้แล้ว) แทนการใช้งานถ่านเหมือนเมาส์ไร้สายทั่ว ๆ ไป

  ภาพจาก : https://www.engadget.com/2014-12-07-the-history-of-the-computer-mouse.html
Multifunction Mouse หรือเมาส์ที่ไม่ได้มีความสามารถแค่ควบคุม Cursor และคลิกเข้าโปรแกรมต่าง ๆ นั้นก็มีการพัฒนาขึ้นมาอย่างต่อเนื่อง แต่บริษัทที่ทำให้เมาส์รูปแบบนี้เป็นที่นิยมในตลาดก็หนีไม่พ้น Logitech เจ้าเดิมนั่นเอง เพราะในปี ค.ศ. 2006 (พ.ศ. 2549) ที่ได้เปิดตัว MX-R และ VX-R ที่มาพร้อมกับ MicroGear Precision Scroll Wheel, ปุ่ม One Touch Search, ปุ่มสลับใช้งานโปรแกรมต่าง ๆ และปุ่มซูมเข้า - ออกด้านข้างตัวเมาส์ก็ทำให้มันกลายเป็นเมาส์มากความสามารถที่ได้รับความสนใจจากผู้ใช้จำนวนไม่น้อย

  ภาพจาก : https://www.engadget.com/2006-08-24-logitechs-vx-and-mx-revolution-mice.html
เมาส์อีกตัวที่น่าสนใจก็ได้แก่ Sony VN-CX1 เพราะทาง Sony ได้พัฒนาเมาส์ที่รูปร่างคล้ายโทรศัพท์แบบพับได้ขึ้นมาพร้อมความสามารถในการรับสายได้เหมือนกันโทรศัพท์จริง ๆ ออกมาในปี ค.ศ. 2006 (พ.ศ. 2549) เช่นกัน
 
 
  ภาพจาก : https://www.engadget.com/2014-12-07-the-history-of-the-computer-mouse.html
ส่วนทาง Apple เองก็ได้พัฒนา Magic Mouse ออกมาวางจำหน่ายในปี ค.ศ. 2009 (พ.ศ. 2551) ที่แม้จะดีไซน์เรียบง่ายแต่ก็มีความสามารถอย่างหลากหลาย เพราะมันสามารถใช้งานได้เหมือนเมาส์ปกติทั่วไปและรองรับการปัด (Swiping) และ Double tap นอกจากนี้ผู้ใช้ยังสามารถคลิกใช้งานคำสั่งเมาส์ที่บริเวณใดก็ได้ เรียกได้ว่าสร้างเสียงฮือฮาให้กับผู้ใช้ได้ค่อนข้างมากเลยทีเดียว

  ภาพจาก : https://www.cultofmac.com/19123/video-watch-the-multi-touch-magic-mouse-in-action/
สำหรับ Microsoft เองก็ได้ดีไซน์เมาส์ Flexible Arc ขึ้นมาในปี ค.ศ. 2010 (พ.ศ. 2553)โดยชูจุดขายว่าเป็นเมาส์ที่ “พกพาง่าย” เพราะเจ้าเมาส์ตัวนี้นั้นสามารถดัดรูปทรงให้แบนราบเพื่อสะดวกต่อการพกพาได้ เมื่อต้องการใช้งานก็เพียงแค่ดัดเมาส์ให้เป็นรูปทรงที่จับถนัดมือเท่านั้น และมันยังมาพร้อมกับปุ่มกดถึง 3 ปุ่มสำหรับการสลับใช้งานโปรแกรม, คลิกซ้าย และคลิกขวา
 
 
  ภาพจาก : https://www.engadget.com/2014-12-07-the-history-of-the-computer-mouse.html
นอกจากนี้ เราก็มักจะเห็น Multifunction Mouse ได้มากในวงการเกม เนื่องจาก Gaming Mouse หลาย ๆ รุ่นนั้นก็มีปุ่มพิเศษเพิ่มมาเพื่อช่วยให้การเล่นเกมเป็นไปด้วยความง่ายดายมากยิ่งขึ้น
 
 
  ภาพจาก : https://www.wirerealm.com/guides/best-gaming-mouse
นอกเหนือไปจากเมาส์ที่เราได้พูดกันมาข้างต้นแล้วก็ยังมีเมาส์ที่น่าสนใจอีกหลายประเภท ไม่ว่าจะเป็น Ergonomic Mouse หรือเมาส์ที่ผลิตขึ้นมาอย่างถูกหลักสรีระศาสตร์ที่ว่ากันว่าช่วยให้ใช้งานแล้วไม่ปวดข้อมือ, สไตลัส (Stylus) หรือพวกเมาส์ปากกาที่สายอาร์ตนิยมใช้งานกัน, 3D Mouse ที่ใช้ในการขึ้นแบบสามมิติ มักเห็นในวงการผู้ผลิตเกมและสถาปนิก หรือเมาส์ที่เน้นความสวยงาม
ภาพจาก : shorturl.at/gnsBQ, shorturl.at/sGKMX
จะเห็นได้ว่านับตั้งแต่อดีตเรื่อยมาจนถึงปัจจุบัน อุปกรณ์เสริมที่ช่วยอำนวยความสะดวกในการใช้งานคอมพิวเตอร์ (และโน๊ตบุ๊ก) ของเราก็มีวิวัฒนาการในด้านต่าง ๆ อย่างก้าวกระโดด ไม่ว่าจะเป็นในเรื่องของดีไซน์, ความแม่นยำในการใช้งาน หรือความสามารถด้านอื่น ๆ ของเมาส์รุ่นต่าง ๆ ก็มีความแตกต่างกันออกไป โดยในปัจจุบันนี้ก็มีเมาส์หลากหลายแบบให้เลือกใช้งานกัน แต่สำหรับ วิธีการเลือกเมาส์ให้เหมาะสม กับตัวเรา นั้นก็น่าจะต้องดูในเรื่องของความชอบส่วนบุคคลและความถนัดมือในการจับเมาส์แต่ละแบบมากกว่า
 คำสำคัญ »
                                        คำสำคัญ »
                                    |  | ตัวเม่นผู้รักในการนอน หลงใหลในการกิน และมีความใฝ่ฝันจะเป็นนักดูคอนเสิร์ตแต่เหมือนศิลปินที่ชื่นชอบจะไม่รับรู้ว่าโลกนี้มียังประเทศไทยอยู่.. | 
 
  
 | ความคิดเห็นที่ 1 
				22 ธันวาคม 2566 16:05:11			 | ||
| GUEST |   | 
					barat88				BARAT88 | 

